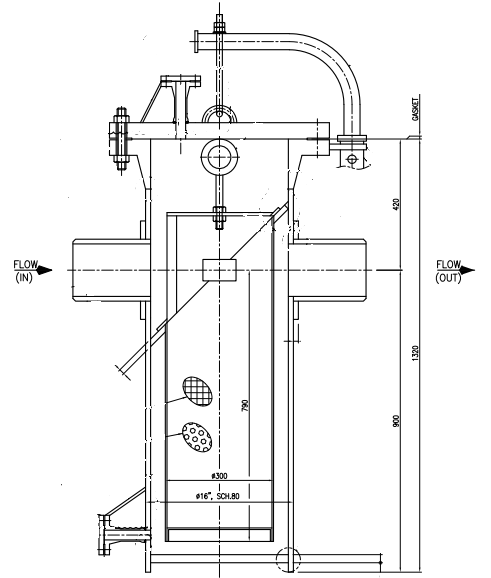
▶ 篮式过滤器
![]() | ![]() |
高效拦截专家:
依据ASME B31.3 / ASME B16.5 等设计规范,
设计尺寸涵盖管口尺寸12” 16” 20”
法兰等级300#—2500#等多种规格。
通常安装于脱水装置前,拦截砂粒、腐蚀产物,防止堵塞换热器、分离器。
滤篮面积可达管道截面积的2-3倍;超大滤篮高效捕获藻类、砂粒,流通量提升30%,过滤后的洁净流体可减少离心泵、齿轮泵等关键设备的叶轮、密封件的磨损,降低故障率。
高效运维专家:
快速清洗设计:维护时仅需"旋开底部螺塞排水→拆卸法兰盖→取出滤篮清洗"三步操作,无需中断生产流程,符合FPSO空间紧凑、停机成本高的特点。
模块化结构:滤篮与筒体分离式设计,滤网损坏时可单独更换,降低备件成本,保障系统连续作业。


